头顶“互联网+医疗”光环的浙江太美医疗科技股份有限公司(以下简称“太美科技”),于近日更新了财务资料,上交所恢复其发行上市审核。太美科技拟在科创板上市,募集资金20亿元,保荐机构为华泰联合证券。
但红星资本局注意到,太美科技成立9年仍未盈利,三年半亏损超过12.5亿,而其本次IPO却要冲击百亿市值。此外,围绕太美科技募资7亿买楼、头顶近亿元商誉,以及估值增长过快的质疑声,也从未间断。

三年半亏损12.5亿
高管总年薪1500万
太美科技是一家生命科学产业数字化解决方案提供商,产品和服务覆盖临床研究、药物警戒、医药市场营销等环节。目前,公司主要销售自主研发的临床研究、药物警戒、医药市场营销等领域的SaaS(软件即服务)产品,同时提供相关领域的专业服务。
据了解,SaaS概念是近年来兴起的软件应用模式。SaaS平台供应商将应用软件统一部署在属于自己的服务器,客户根据实际需求,通过互联网向厂商订购所需软件服务,按订购服务多少和时长支付费用,并通过互联网获得Saas平台供应商提供增值服务。
踩中SaaS概念风口,太美科技也迎来了业绩的快速增长。2018年到2021年上半年(报告期),太美科技实现营收分别为5997.43万元、1.87亿元、3.03亿元和1.88亿元。
但在营业收入大幅增加的情况下,太美科技不仅没实现盈利,亏损还在逐步扩大。报告期内,其净利润分别为-1.83亿元、-3.89亿元、-5.24亿元及-1.58亿元,累计亏损12.5亿元。截至2021年上半年,太美科技合并层面累计未弥补亏损额4.64亿元。
对此,太美科技表示,高额的研发费用、股份支付费用及人工成本使得公司截至目前仍处于持续亏损状态。
红星资本局注意到,2018年-2020年,太美科技管理费用占总营收的比重均在130%以上,即使剔除股份支付费用,公司的管理费用率仍达到35%,大幅超过同行可比上市公司。

此外,其销售费用率常年维持在30%以上,2018年达到50%,研发费用率也常年超过35%,均高于可比公司的平均值。
在“增收不增利”愈发严重的情况下,太美科技高管们的薪酬颇受人非议。招股书显示,报告期内,公司高管薪酬总额分别为950.39万元、938.51万元、1450.6万元和737.23万元。
其中,2020年,太美科技董事长、总经理赵璐的薪酬为182.3万元,董事马东的薪酬为125.24万元,董事张宏伟的薪酬为174.27万元,董事、副总经理、董事会秘书倪晓梅的薪酬为148.6万元,上述四人的薪酬合计超过600万元。
8轮融资近30亿,腾讯、高瓴站台
目标冲击百亿市值
但连年高额亏损,并没有影响到机构追捧太美科技的热情。
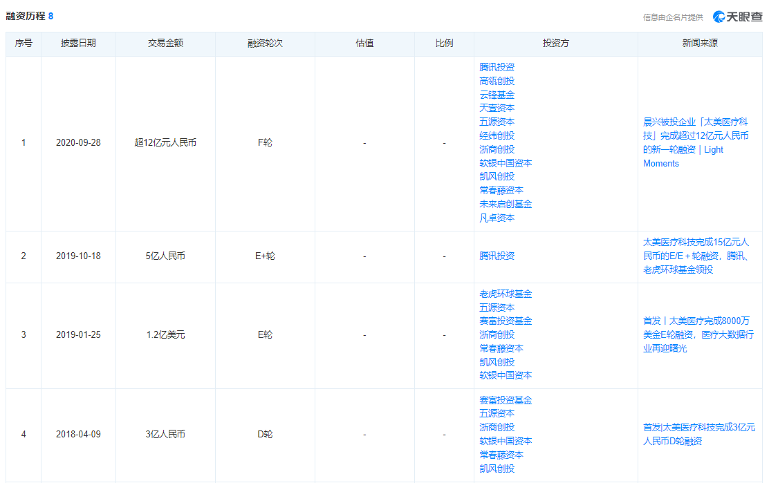
天眼查APP显示,自成立以来,太美科技共先后经历8轮融资,融资总金额接近30亿元,其中最近一轮F轮融资吸金超12亿元,吸引了云锋基金、软银中国、高瓴、腾讯投资、经纬创投等众多机构入局。
截至招股书签署日,太美科技股东共计46名,其中自然人股东3名,机构股东多达43家。机构股东中,已备案的私募投资基金股东达29家,不属于私募投资基金监督、备案规定的私募基金或私募基金管理人股东14家。
报告期内,太美科技先后进行了多次增资和股权转让,公司估值迅速扩大。
2018年4月,太美科技报告期内第一次增资,将注册资本由857.84万元增加至902.99万元,新增注册资本45.15万元由新股东新余浩霖以1元/出资额的价格认缴,没有任何溢价。
而到了2020年9月,太美科技报告期内第七次股权转让,南京凯元将太美有限1%的股权(出资额14.47万元)以7000万元价格转让给林芝腾讯,此时太美科技的每股出资额价格已高达483.63元,对应市值高达48亿元。
2021年9月,变更为股份公司的太美科技再次进行股份转让,此次的估值已经来到了80亿元。其估值就已经翻倍。
值得注意的是,由于实控人持股数量低(17.24%),太美科技采用表决权差异安排,即实控人赵璐所持太美科技股份设置为特别表决权股份(“A类股份”),剩余股东所持公司股份为普通股份(“B类股份”),每一A类股份拥有的表决权数量是每一B类股份拥有表决权数量的8倍。因此,赵璐直接持有太美科技62.50%的表决权,并通过9家持股平台合计直接及间接控制公司69.78%的表决权。
根据《科创板上市规则》第2.1.4条标准,“发行人具有表决权差异安排的,市值及财务指标应当至少符合下列标准中的一项:(一)预计市值不低于人民币100亿元;(二)预计市值不低于人民币50亿元,且最近一年营业收入不低于人民币5亿元。”
2020年,太美科技营业收入为3.03亿元,低于5亿元。因此,太美科技只能选择“预计市值不低于人民币100亿元”作为上市标准。
有市场声音认为,太美科技报告期内估值快速增长,或是在进行资本运作,以迎合“市值不低于100亿元”的上市标准。
需要提醒投资者的一点是,若太美科技初步询价后计算出的发行后总市值低于100亿元,则存在发行被中止的风险。此外,招股书也提示了可能存在本次发行认购不足的风险。
头顶近亿元商誉
募资7亿买楼遭质疑
太美科技的巨额亏损,还与其商誉减值有关。
2019年,太美科技因收购软素科技、诺铭科技合计形成商誉约1.61亿元。由于软素科技2019、2020年业绩未能达到承诺要求,导致公司2020年和2021年上半年分别发生商誉减值2948.35万元和3463.42万元。
数据显示,截至2021年6月30日,公司商誉账面价值为9700.8万元,其中因收购软素科技、诺铭科技产生的商誉账面价值分别为7552.84万元、2147.96万元,未来仍需留意减值风险。
招股书显示,此次IPO,太美科技计划募资20亿元,其中13.10亿元将用于临床研究智能化协作平台升级、3.5亿元用于临床研究企业端系统研发升级、1.80亿元用于独立影像评估系统研发升级,以及1.60亿元用于药物警戒系统研发升级项目。
其中,临床研究智能化协作平台升级项目拟投资额占总融资额的65%,远高于其他项目,原因在于公司计划投入7.03亿元买办公楼,合理性值得商榷。
上交所也在首轮问询中要求太美科技,分析购买不超过26000平方米的办公楼的必要性与合理性,是否变相投入房地产领域。
太美科技表示,募投项目实施期间,员工人数预计将逐步增长至2604人(2021年底为1492人),现有研发场地和研发硬件预计难以满足新增人员的办公需求和研发需求,亟需扩大研发、运营场地面积,并创造良好的办公条件和环境,吸引更多高层次技术人才。不存在变相投入房地产领域的情形。
红星新闻综合报道记者俞瑶余冬梅
(下载红星新闻,报料有奖!)